当前位置:首页 > 行业标准 > HB 3333-1980

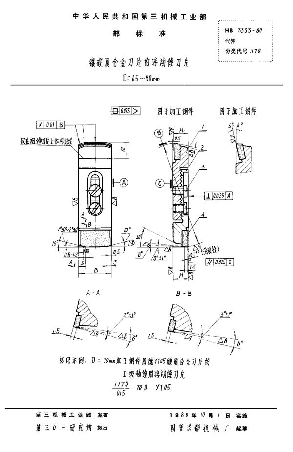
HB 3333-1980 镶硬质合金刀片的浮动镗刀片 D=65~80mm

HB 3333-1980标准基本信息

标准名称:镶硬质合金刀片的浮动镗刀片 D=65~80mm

标准号:HB 3333-1980

HB 3333-1980 镶硬质合金刀片的浮动镗刀片 D=65~80mm

声明:资源收集自用户分享或网络,仅为个人学习参考使用,如侵犯您的权益,请联系我们处理。

不能下载?报告错误