JB/ZQ 4767-2006标准基本信息
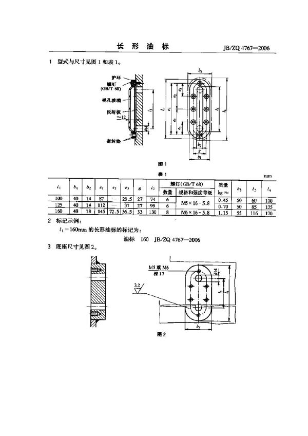
标准名称:长形油标
英文名称:Oil level indicator of length type
标准号:JB/ZQ 4767-2006
发布日期:
实施日期:

JB/ZQ 4767-2006标准基本信息
标准名称:长形油标
英文名称:Oil level indicator of length type
标准号:JB/ZQ 4767-2006
发布日期:
实施日期:

声明:资源收集自用户分享或网络,仅为个人学习参考使用,如侵犯您的权益,请联系我们处理。
不能下载?报告错误