免费标准网 - 标准下载、免费文档下载网站
搜索
当前位置:
首页
>
行业标准
> HB 0-31-1983
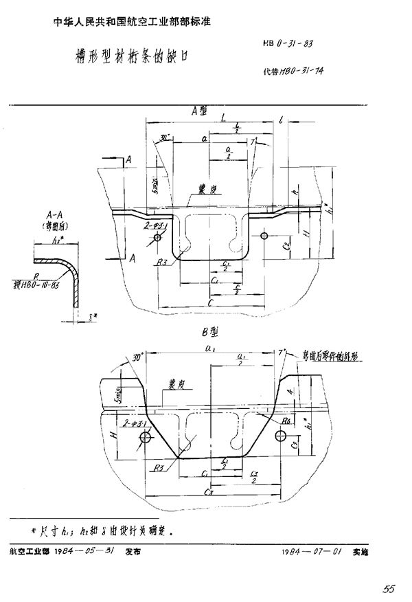
HB 0-31-1983 槽形型材桁条的缺口
HB 0-31-1983标准基本信息
标准名称:槽形型材桁条的缺口
标准号:HB 0-31-1983
收藏
下载
声明:资源收集自用户分享或网络,仅为个人学习参考使用,如侵犯您的权益,请联系我们处理。
不能下载?报告错误
翻页:
HB 0-41-1970 航空仪表用的字体和符号
相关内容
HB 0-31-1983 槽形型材桁条的缺口
下载
免费下载
收藏
报错
热门标签
硬度
照明
会议
抽样
手孔
插头
t型槽
钢管
钢铁
安装设计
锻造
土方机械
热电偶
疏水阀
家具
止回阀
门窗
平键
国标
行业
地方
团体
企业
计量
手册
建设
文档
首页