当前位置:首页 > 行业标准 > HB 6909-1994

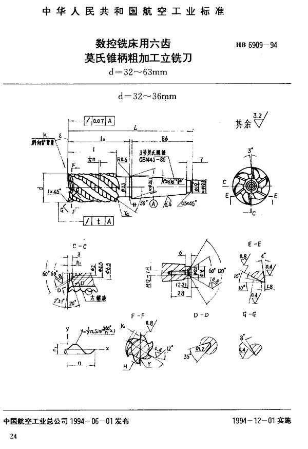
HB 6909-1994 数控铣床用六齿莫氏锥柄粗加工立铣刀

HB 6909-1994标准基本信息

标准名称:数控铣床用六齿莫氏锥柄粗加工立铣刀

标准号:HB 6909-1994

声明:本站为网络服务提供者及网络索引服务平台资源索引自网络/用户分享,如有版权问题,请联系站方删除。

不能下载?报告错误