免费标准网 - 标准下载、免费文档下载网站
搜索
当前位置:
首页
>
行业标准
> HB 3311-1991
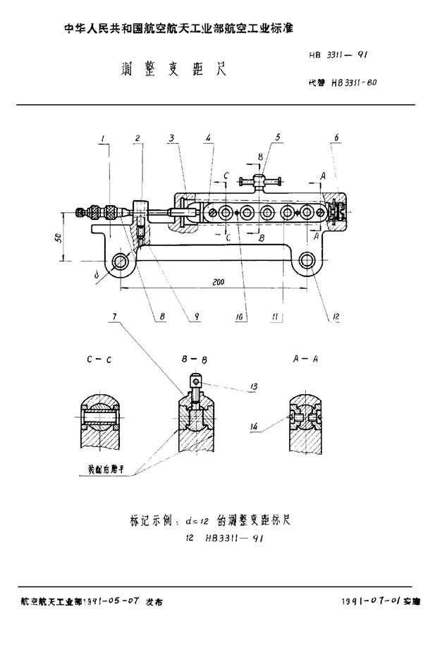
HB 3311-1991 调整变距尺
HB 3311-1991标准基本信息
标准名称:调整变距尺
标准号:HB 3311-1991
收藏
下载
声明:资源收集自用户分享或网络,仅为个人学习参考使用,如侵犯您的权益,请联系我们处理。
不能下载?报告错误
翻页:
HB 3312-1991 标尺用支座
相关内容
HB 3311-1991 调整变距尺
HB 4517-1991 调整变距尺
下载
免费下载
收藏
报错
热门标签
门窗
钢丝绳
蝶阀
锻造
国家职业卫生
探伤
机械制图
管螺纹
管道工程
中心孔
线材
焊接
法兰
电气设备
路桥
数据
气体
螺纹
国标
行业
地方
团体
企业
计量
手册
建设
文档
首页