当前位置:首页 > 行业标准 > HB 3723-1986

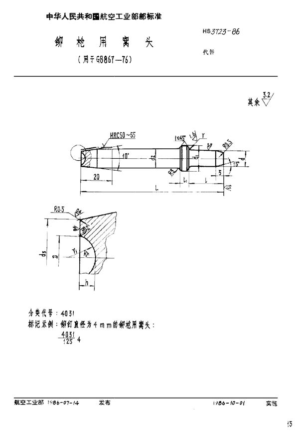
HB 3723-1986 铆枪用窝头(用于GB 867-76)

HB 3723-1986标准基本信息

标准名称:铆枪用窝头(用于GB 867-76)

标准号:HB 3723-1986

HB 3723-1986 铆枪用窝头(用于GB 867-76)

声明:资源收集自用户分享或网络,仅为个人学习参考使用,如侵犯您的权益,请联系我们处理。

不能下载?报告错误