免费标准网 - 标准下载、免费文档下载网站
搜索
当前位置:
首页
>
行业标准
> HB 3431-1984
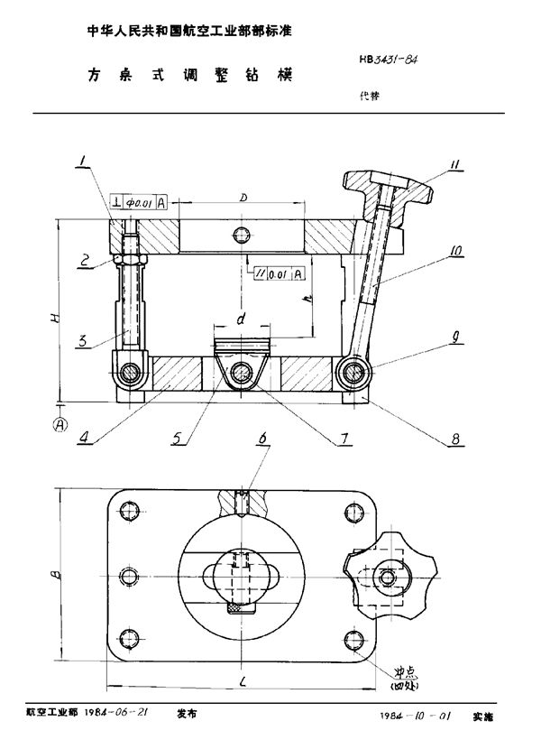
HB 3431-1984 方桌式调整钻模
HB 3431-1984标准基本信息
标准名称:方桌式调整钻模
标准号:HB 3431-1984
收藏
下载
声明:资源收集自用户分享或网络,仅为个人学习参考使用,如侵犯您的权益,请联系我们处理。
不能下载?报告错误
翻页:
HB 3435-1984 加工高温合金及钛合金用直柄短麻花钻 d=1~12mm
相关内容
HB 3431-1984 方桌式调整钻模
下载
免费下载
收藏
报错
热门标签
材料验收
无损检测
气体
污染物排放
门窗
照明
暖通空调
电气
甲醛
螺纹
玩具
电动车
球墨铸铁管
仪器
紧固件
近期更新
电源线
工程结构
国标
行业
地方
团体
企业
计量
手册
建设
文档
首页