当前位置:首页 > 行业标准 > HB 6890-1993

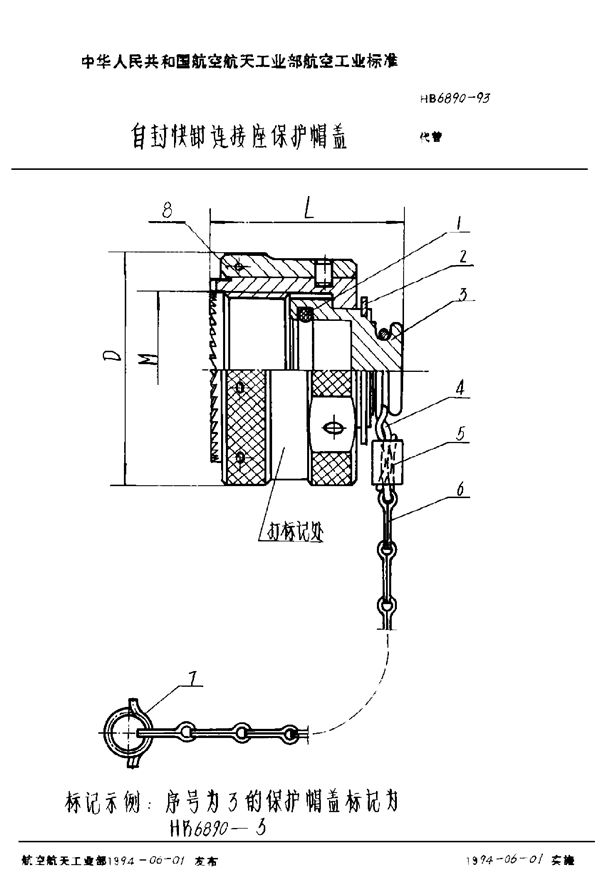
HB 6890-1993 自封快卸连接座保护帽盖

HB 6890-1993标准基本信息

标准名称:自封快卸连接座保护帽盖

标准号:HB 6890-1993

HB 6890-1993 自封快卸连接座保护帽盖

声明:资源收集自用户分享或网络,仅为个人学习参考使用,如侵犯您的权益,请联系我们处理。

不能下载?报告错误