当前位置:首页 > 行业标准 > HB 4578-1992

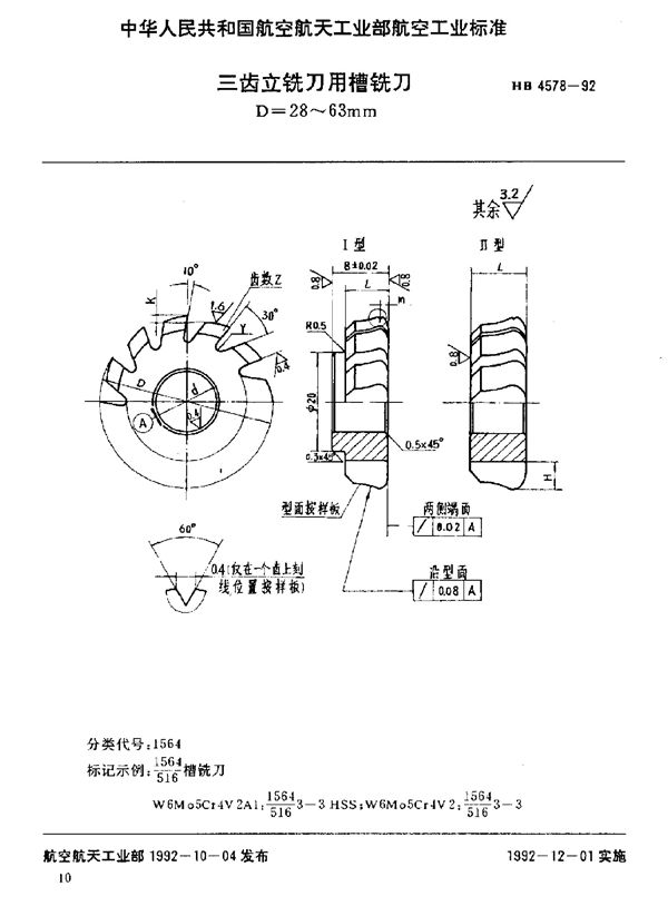
HB 4578-1992 三齿立铣刀用槽铣刀 D=28~63mm

HB 4578-1992标准基本信息

标准名称:三齿立铣刀用槽铣刀 D=28~63mm

标准号:HB 4578-1992

HB 4578-1992 三齿立铣刀用槽铣刀 D=28~63mm

声明:资源收集自用户分享或网络,仅为个人学习参考使用,如侵犯您的权益,请联系我们处理。

不能下载?报告错误